<li id="c044c"><tt id="c044c"></tt></li>
<tt id="c044c"><table id="c044c"></table></tt>
  • <tt id="c044c"><table id="c044c"></table></tt>
  • BOLTING品牌生產廠家是一家專業從事液壓泵,液壓扭力扳手、電動扭力扳手、氣動扭力扳手設計、研發、制造及銷售于一體的企業

    液壓扳手_液壓扭力扳手_氣動_電動扭矩扳手_首選BOLTING進口液壓扳手

    液壓扳手行業領航者

    卓越的品質和服務是我們永恒的追求

    全國咨詢熱線021-58213301

    風電螺栓緊固工具液壓扭力扳手

    文章出處:未知 人氣:發表時間:2020-11-16 16:30

    螺栓連接是風力發電機組裝配中的重要裝配方式,幾乎涉及到風力發電機組的所有部件。因此,螺栓的選用和強度校核是風力發電機組可靠性的重要保證。隨著我國風電事業的跨越式發展,伴隨著風力發電成本不斷下降,風電機組的價格也越來越低,各大風電設備總裝企業的價格戰已經進行到了白熱化階段。

    風電螺栓緊固工具選用液壓扳手。液壓扳手在操作的時候很靈活,可以在各個角度旋轉,在空間的使用上也沒有限制操作起來更自由。液壓扳手擁有扳機式鎖扣,只要輕松的按一下就可以將無死角的反作用力臂置于堅固的支點上。

    液壓扳手應用于風電螺栓緊固

    液壓扳手是由本體、液壓扳手專用泵、雙聯高壓油管、高強度套筒組成。前者系動力源部件,后者為扭矩執行機構。通過液壓系統壓力表能夠精確、可靠的控制預緊力矩;提高螺紋聯接剛度,降低螺栓疲勞斷裂的危險性;保證了廣泛采用高強度螺栓聯接的可靠性,以利減輕重量和節約空間;使用范圍廣、適應性強,可用于螺栓的預緊;手動/自動兩用,使用方便,經濟安全。

    風電螺栓緊固工具—液壓扳手優點:

    ● 扭矩范圍廣,型號從110-70660N.m; 

    ● 采用航空級材料,一體成型機身,加強機身強度、韌性; 

    ● 360°×180°旋轉軟管接頭,能在狹小的空間內使用; 

    ● 扳機式鎖扣,輕松按動,可隨心所欲地將360°微調式反作用力臂定于堅固的支點上; 

    ● 采用精密棘輪,輸出扭矩精度高達±3%; 

    ● 止退摯子,防止螺栓扭轉回彈導致的工具逆轉現象,迅速提升螺母鎖緊速度;

     

    空間位置考慮

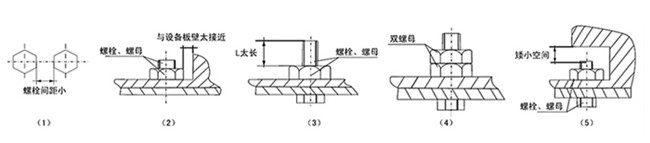
    如果沒有空間限制,哪個型號的扳手都可以使用;驅動式液壓扳手最為通用;如螺栓擰好后露出的螺紋較長或者螺栓上面有空間有限,最好使用中空式液壓扳手;如螺母間距離狹窄,可選用中空式液壓扳手。

     

    常見螺栓、螺母位置參考:

    1、當螺栓間距小

    2、螺栓、螺母與設備板壁太近

    3、螺栓螺母露出L太長

    4、雙螺母

    5、螺栓、螺母在矮小空間

    螺栓大小

    一般有哪幾種螺栓,是公制還是英制。例如M36、M42、M48,這幾種指的是公制螺栓,M36的螺母六角對邊是55,M42是65,M48是75??蛇x用一種型號的液壓扳手。如螺栓規格跨度太大,而且扭矩跨度較大,那預緊這些螺栓就必然要選用多種型號扳手。

     

    扭矩要求

    螺栓的規格、螺栓的強度等級是液壓扭矩扳手選型的最關鍵參數。螺栓不同,扭矩不同,同樣的螺栓強度等級不同扭矩不同,同樣螺栓強度等級,不同工況的扭矩也不同。如M36螺栓,強度等級8.8 級,扭矩1764Nm;強度等級10.9. 級,扭矩2453Nm;強度等級12.9.級,扭矩2940Nm 每個行業不同,螺栓等級強度不同,具體情況具體對待。

    同類文章排行

    最新資訊文章

    關閉
    021-58213301
    <li id="c044c"><tt id="c044c"></tt></li>
    <tt id="c044c"><table id="c044c"></table></tt>
  • <tt id="c044c"><table id="c044c"></table></tt>
  • 99热国产精品 乌鲁木齐县| 思茅市| 崇阳县| 四川省| 三穗县| 乐都县| 霸州市| 揭西县| 革吉县| 武威市| 长白| 酒泉市| 淄博市| 长海县| 敖汉旗| 昌平区| 新巴尔虎右旗| 广灵县| 鄯善县| 民勤县| 肥西县| 翁牛特旗| 京山县| 上栗县| 靖宇县| 玛沁县| 五常市| 浦北县| 霍城县| 老河口市| 通化市| 镇雄县| 宝应县| 黔西| 德阳市| 永平县| 新昌县| 泾阳县| 喀什市| 玛纳斯县| 印江| http://444 http://444 http://444